Rapport d'enquête maritime M03L0124

Envahissement par les hauts et échouement
du bateau de pêche Evan Richard
au large de l'île d'Anticosti (Québec)

Le Bureau de la sécurité des transports du Canada (BST) a enquêté sur cet événement dans le but de promouvoir la sécurité des transports. Le Bureau n’est pas habilité à attribuer ni à déterminer les responsabilités civiles ou pénales. Le présent rapport n’est pas créé pour être utilisé dans le contexte d’une procédure judiciaire, disciplinaire ou autre. Voir Propriété et utilisation du contenu.

Table des matières

    Résumé

    Le 27 septembre 2003, lors d'un voyage entre Bas Caraquet (Nouveau-Brunswick) et Makkovik au Labrador, le bateau de pêche Evan Richard avec trois personnes à bord, mouille l'ancre à quelques centaines de mètres de la côte de l'île d'Anticosti (Québec). Le 29 septembre, l'équipage est réveillé par de forts vents du secteur sud-sud-est. Les conditions météorologiques se détériorent rapidement en raison de la tempête tropicale Juan qui approche.

    Lorsqu'on amorce une manoeuvre pour fuir l'ancrage, le bateau commence à embarquer des paquets de mer. En peu de temps, le pont arrière est envahi et un appel de détresse est lancé alors que le Evan Richard s'enfonce rapidement dans la mer. Les occupants se réfugient sur le dessus de la passerelle, la seule partie qui demeure hors de l'eau. En essayant d'atteindre le canot pneumatique que le Evan Richard remorque en guise d'embarcation de sauvetage, le capitaine tombe à l'eau et dérive vers l'île.

    Le Evan Richard est drossé sur la plage de l'île d'Anticosti à environ 3 milles marins de la position où a été lancé l'appel de détresse. Le capitaine est récupéré sur la rive par un hélicoptère de Recherches et sauvetage, mais les deux autres personnes sont toujours portées manquantes.

    Renseignements de base

    Fiche technique du navire

    « EVAN RICHARD »
    Numéro officiel 368620
    Port d'immatriculation Caraquet (Nouveau-Brunswick)
    Pavillon Canada
    Type Dragueur à pétoncles (depuis 2003)
    Jauge bruteNote de bas de page 1 13,62
    LongueurNote de bas de page 2 9,4 m
    Cargaison Matériaux de construction, drague à pétoncles, barils de carburant diesel
    Équipage 3 personnes
    Construction Construit en bois par A.L. Leblanc Ltd. de Lower Wedgeport (Nouvelle-Écosse) en 1974; recouvert de fibre de verre en 1990; refonte par J. & O. Doiron Ltée de Pokesudie (Nouveau-Brunswick) en 2003
    Groupe propulseur Un moteur diesel Volvo Penta de 220 hp
    Propriétaire Propriétaire privé

    Renseignements sur le navire

    À l'origine, le Evan Richard était un bateau de type « Cape Islander » conçu pour la pêche au homard, ce qui a été sa principale utilité jusqu'en 2002, lorsqu'il a été acheté par son dernier propriétaire. À la fin de l'été 2003, il a été transformé en dragueur à pétoncles. Lors de sa refonte, le bateau a subi les modifications suivantes :

    • l'installation d'une tablette horizontale de 1,2 m à l'arrière;
    • la refonte du pont extérieur;
    • l'augmentation de la hauteur du pavois de 104 mm;
    • l'allongement de la timonerie de 1,2 m;
    • la refonte de l'intérieur des emménagements;
    • le remplacement du réservoir de combustible par un réservoir de plus grande capacité;
    • l'installation d'un mât et des gréements hydrauliques pour la pêche à la pétoncle;
    • l'installation d'un radiotéléphone VHF, d'un radar et d'un système de carte électronique intégré, d'un sondeur et d'un compas magnétique;
    • l'installation d'une servodirection sur l'appareil à gouverner hydraulique et d'un pilote automatique.
    Photo 1. Vue avant du Evan Richard
    Image
    Vue avant du Evan Richard
    Photo 2. Vue arrière du Evan Richard
    Image
    Vue arrière du Evan Richard
    Evan Richard Evan Richard voir l'annexe A

    Déroulement du voyage

    Après une refonte majeure au chantier maritime de Pokesudie (Nouveau-Brunswick), le Evan Richard est mis à l'eau le 20 septembre 2003. Quelques essais en mer sont effectués le 21 septembre. Dans les jours qui suivent, l'équipage s'affaire à préparer le bateau pour le voyage et à le charger. Le 26 septembre, le Evan Richard appareille de la marina de Bas Caraquet (Nouveau-Brunswick) à destination de Makkovik sur la côte du Labrador. Un canot pneumatique est remorqué en guise d'embarcation de sauvetage.

    Figure 1. Croquis des lieux
    Image
    Croquis des lieux

    Comme le capitaine préfère naviguer de jour, la première escale a lieu en soirée le 26 septembre à l'Anse-à-Beaufils sur la péninsule de la Gaspésie. Le lendemain matin, sans avoir préparé de plan de voyage, on met le cap sur l'île d'Anticosti. Tard dans la soirée, on mouille l'ancre à quelques centaines de mètres du rivage dans la baie-aux-Goélands, située à environ 1,5 mille marin au nord-ouest de Pointe de l'Est.

    Le 28 septembre, le navire passe la journée à l'ancre; de forts vents du secteur sud-sud-est soufflent et on décide de rester à l'abri. L'équipage profite de cette journée pour faire une excursion sur l'île avec le canot pneumatique. On tente sans succès de capter un bulletin météorologique sur la voie 09 du radiotéléphone VHF.

    Le 29 septembre, le capitaine se réveille vers 5 h 30, heure avancée de Terre-NeuveNote de bas de page 3 et constate que le temps se détériore. Les vents ont changé de direction et viennent maintenant du secteur sud-est. Ils ont augmenté en intensité et le bateau commence à rouler dangereusement. Vers 6 h, le capitaine décide de quitter ce lieu d'ancrage; il réveille les deux matelots et demande à l'un d'entre eux de lever l'ancre. À 6 h 4 min 44 s, le capitaine lance un appel de détresse sur la voie 16 du radiotéléphone VHF et tente ensuite une manoeuvre pour fuir l'ancrage.

    En utilisant la servodirection, le capitaine tourne le bateau pour prendre la mer de l'avant. Il observe sur l'indicateur de barre que le gouvernail est à droite toute, alors que le Evan Richard fait une embardée vers tribord. À un moment donné, le capitaine veut stabiliser le bateau en utilisant le levier de commande de la servodirection, mais la barre ne semble pas répondre. Quand le bateau se retrouve par le travers de la mer, des paquets de mer envahissent le pont arrière. À 6 h 14 min 26 s, se voyant incapable de barrer le bateau, le capitaine lance un deuxième appel de détresse. Le bateau est envahi par les hauts et s'enfonce lentement dans la mer. Seul le dessus de la passerelle demeure hors de l'eau.

    Le capitaine essaie de rejoindre le canot pneumatique, mais il est emporté par un paquet de mer qui le projette par-dessus bord. Il s'agrippe à des morceaux de bois qui flottent autour de lui et dérive vers la berge; après plusieurs tentatives, il réussit à escalader la falaise. La dernière fois que le capitaine a observé les deux autres membres de l'équipage, ils étaient sur le dessus de la passerelle.

    Opération de recherches et sauvetage

    Le premier appel de détresse lancé par le Evan Richard le 29 septembre est capté par le centre des Services de communications et de trafic maritimes (SCTM) de Rivière-au-Renard (Québec). Le bateau signale qu'il est en difficulté par 49° 10′48″ de latitude Nord et 061°42′14″ de longitude Ouest. Le deuxième appel de détresse est la dernière communication du Evan Richard captée par le centre des SCTM. Dans les minutes qui suivent, le centre des SCTM de Rivière-au-Renard transmet un Mayday Relay et avise le Centre secondaire de sauvetage maritime de Québec. Entre-temps, les recherches s'organisent. Un avion et deux hélicoptères du Programme national de recherche et sauvetage (PNRS), trois navires de la Garde côtière canadienne (GCC) et deux navires commerciaux sont dépêchés sur les lieux du naufrage. Des guides terrestres sur l'île sont aussi assignés à l'opération.

    Dès 9 h 24, l'avion du PNRS aperçoit des débris dans la région identifiée comme étant le lieu du naufrage. Après un premier survol des lieux vers 11 h 15, un des hélicoptères du PNRS atterrit près de la rive de la baie Sandtop sur l'île d'Anticosti. Alors qu'ils discutent avec les guides terrestres, les membres de l'équipe du PNRS aperçoivent le capitaine qui est sain et sauf. L'hélicoptère décolle peu de temps après avec le capitaine pour poursuivre les recherches et se rend ensuite à Gaspé (Québec) pour faire l'avitaillement en carburant et y déposer le capitaine.

    L'opération de recherches et sauvetage prend fin à 19 h le 30 septembre, soit plus de 36 heures après le naufrage. Le cas est transféré au détachement de la Sûreté du Québec à Havre-Saint-Pierre (Québec).

    Victimes

    Les deux matelots n'ont pas été retrouvés et sont portés disparus.

    Avaries

    Le Evan Richard a été endommagé quand il s'est échoué sur la rive à environ 3 milles marins du lieu où l'appel de détresse a été lancé. Sous l'action des vagues, il a été complètement détruit et est maintenant considéré comme une perte totale.

    Photo 3. Le Evan Richard sur la plage de l'Île Anticosti quelques heures après le naufrage
    Image
    Le Evan Richard sur la plage de l'Île Anticosti quelques heures après le naufrage
    Photo 4. Épave du Evan Richard sur la plage de l'Île Anticosti le 3 octobre 2003
    Image
    Épave du Evan Richard sur la plage de l'Île Anticosti le 3 octobre 2003

    Brevets

    Le capitaine du Evan Richard est titulaire d'un brevet de capitaine de pêche de troisième classe délivré en 1994 et d'un brevet d'officier mécanicien de quart pour bateau de pêche à moteur délivré en 1985.

    Certificats du bateau et inspection

    En vertu de la réglementation en vigueur, le Evan Richard n'était pas tenu d'être inspecté étant donné que sa jauge brute était inférieure à 15. Le bateau n'avait pas fait non plus l'objet d'une inspection après sa refonte en 2003. Le Evan Richard devait répondre aux exigences du Règlement de 1999 sur les stations de navires (radio), mais il n'avait pas à être inspecté et n'était pas tenu de posséder un certificat radio.

    Instruments et documentation de navigation

    L'équipement de navigation du Evan Richard comprenait un compas magnétique, un sondeur à ultrasons, un radar et un système de positionnement global (GPS). Il y avait également un radiotéléphone VHF marine à bord, mais il n'était pas approuvé par Transports Canada et n'était pas équipé de la fonction appel sélectif numérique (ASN). Le navire était équipé d'un système de carte électronique en plus des cartes marines (copie papier), mais il n'y avait ni Instructions nautiques ni Aides radio à la navigation maritime ni Avis aux navigateurs à bord.

    Appareil à gouverner

    Figure 2. Croquis du circuit électrique de la servodirection sur le Evan Richard
    Image
    Croquis du circuit électrique de la servodirection sur le Evan Richard

    Avant sa refonte, l'appareil à gouverner du Evan Richard était activé à l'aide d'un télémoteur hydraulique manuel. La barre était reliée directement à une pompe hydraulique et raccordée par deux conduits hydrauliques à un vérin, lui-même connecté à la mèche du gouvernail. En tournant la barre, une pression hydraulique était transmise au vérin et activait le gouvernail.

    Lors de la refonte, une servodirection et un pilote automatique ont été ajoutés à l'appareil à gouverner. Avec cet ajout, en plus du télémoteur, le navire pouvait être barré par la servodirection à l'aide d'un levier de commande ou par le pilote automatique à l'aide du capteur installé sur le compas magnétique raccordé au tableau de commande (voir la figure 2).

    Lors de l'installation, on a ajouté un fusible de 20 A entre le module d'entraînement et le groupe moteur (voir « A », figure 2). L'expérience a démontré que le groupe moteur de l'appareil à gouverner était porté à tomber en panne en mer. L'ajout du fusible avait pour but de limiter l'entretien et le remplacement de cette pièce.

    Lors d'essais en mer dans les jours précédant le départ, le capitaine a signalé au technicien que le fusible avait fondu à quelques reprises. Une évaluation a permis de conclure que le fusible fondait quand la barre était maintenue à droite ou à gauche toute; le système n'était pas muni d'un interrupteur de fin de butée. Une surcharge était ainsi provoquée dans le circuit et faisait fondre le fusible de 20 A. Pour palier à ce problème, on a proposé d'installer un autre type de servodirection, mais le capitaine a décidé de conserver le système en place étant donné le coût additionnel de remplacement.

    Équipement de sauvetage

    Il n'y avait ni radeau de sauvetage ni combinaison d'immersion ni radiobalise de localisation des sinistres (RLS) sur le Evan Richard. Aucun de ces engins de sauvetage n'est requis à bord d'un bateau de pêche d'une jauge brute égale ou inférieure à 15.

    Une inspection effectuée par la compagnie d'assurances en date du 17 septembre 2003 indique qu'il n'y avait pas de gilet de sauvetage à bord. Le capitaine confirme cependant s'être procuré trois vêtements de flottaison individuels (VFI) avant le départ du voyage qui a mené à l'accident. Lors du naufrage, aucun des membres de l'équipage ne portait de VFI. En guise d'embarcation de sauvetage, le Evan Richard remorquait un canot pneumatique de quelque 3 m de long. Cette embarcation n'a pas servi lors du naufrage et n'a pas été retrouvée après l'accident.

    Chargement

    Le Evan Richard était conçu pour la pêche, toutefois son propriétaire en a fait usage pour des opérations pour lesquelles il n'était pas destiné. Dans le cas à l'étude, le Evan Richard avait un chargement de bois d'environ 1,5 m de haut recouvrant la totalité du pont arrière. Le bois en ponté faisait saillie à l'arrière du tableau sur une distance d'environ 1,65 m. Le bois était assujetti par un seul câble de nylon passant en travers du bateau et retenu par des oeillets en acier vissés sur le dessus du pavois. Par-dessus le bois, il y avait six dragues à pétoncles. De plus, deux barils de carburant diesel étaient arrimés sur le gaillard d'avant et deux autres derrière les emménagements. Trois bouteilles de propane étaient aussi arrimées sur le dessus de la passerelle. La masse totale de quelque 6570 kg était répartie de la façon suivante :

    • 2100 kg de bois de construction (estimé sec)Note de bas de page 4;
    • 680 kg (6 dragues à pétoncles);
    • 690 kg de carburant diesel dans 4 barils;
    • 100 kg de gaz propane dans trois bouteilles.
    Photo 5. Vue de l'arrière du Evan Richard avec son chargement avant le départ de Bas Caraquet
    Image
    Vue de l'arrière du Evan Richard avec son chargement avant le départ de Bas Caraquet

    En outre, on estime qu'il y avait quelque 3000 kg de carburant diesel dans le réservoir de combustible arrière.

    Il n'y avait pas de marques de franc-bord ni de ligne de charge sur le Evan Richard. Une fois le bateau chargé, la distance entre la surface de l'eau et le dessus du pavois était de quelque 45 cm (voir l'annexe A). Les drains avaient été obturés avec des bouchons en bois, mais comme ils n'étaient pas étanches, une pompe électrique avait été installée pour vidanger l'eau qui s'infiltrait sur le pont arrière.

    Conditions météorologiques

    En date du 26 septembre, les prévisions pour les prochaines 36 heures émises par Environnement Canada pour les secteurs de Chaleur-Miscou et Anticosti étaient des vents du sud-ouest de 10 à 15 noeuds augmentant à 15 à 20 noeuds du sud-est samedi après-midi pour Chaleur-Miscou et à 20 noeuds samedi soir pour Anticosti. On prévoyait de forts vents à long terme. Le 27 septembre à 15 h 30, un avis de coup de vent a été diffusé pour Chaleur-Miscou et Anticosti. Le 28 septembre à 15 h 30, l'avis pour la région d'Anticosti a été remplacé par un avis de tempête qui est resté en vigueur jusqu'au 29 septembre en après-midi.

    Dans les jours précédant le voyage, l'ouragan Juan remontait la côte orientale des États-Unis et le 28 septembre, l'ouragan avait rejoint la Nouvelle-Écosse. Le 29 septembre, en tant que tempête tropicale, la dépression avait rejoint la Côte-Nord aux environs de Natashquan (Québec). Entre autres, des vents de 46 noeuds du sud-sud-est ont été enregistrés à la station d'observation de la Pointe-Heath sur l'île d'Anticosti.

    Analyse

    Refonte non signalée aux autorités

    On dénombre plus de 20 000 bateaux de pêche immatriculés au Canada dont plus de 15 000 ont une jauge brute de moins de 15 (voir l'annexe B). Au moins 76 % de la flotte canadienne des bateaux de pêche immatriculés sont exploités au seuil des obligations réglementaires du système d'inspection et de certification. Sans réel support, les propriétaires et les patrons de ces navires équipent et exploitent leur bateau comme bon leur semble.

    Il est intéressant de noter que parmi ce dernier groupe de petits bateaux de pêche, dont le Evan Richard fait partie, les propriétaires ne sont pas obligés de faire inspecter leur navire. Or, si une inspection est effectuée par Transports Canada, elle n'est faite que dans le cadre d'une visite de courtoisie. Avant d'entreprendre son dernier voyage, le Evan Richard avait subi une refonte majeure qui avait pour but de transformer le homardier en dragueur à pétoncles. Des modifications importantes avaient été effectuées pour l'adapter à la pêche à la pétoncle. Or, comme bien d'autres petits bateaux de pêche, la refonte n'avait pas été signalée à Transports Canada. Ce défaut de signaler les refontes demeure un problème systémique qui menace la sécurité des marins pêcheurs.

    Par conséquent, il incombe aux propriétaires et aux patrons de s'assurer que leur navire est conforme à la réglementation, que les équipements à bord sont adéquats, qu'ils sont installés selon les instructions du fabricant et qu'ils fonctionnent correctement.

    Panne de la servodirection

    Selon l'information recueillie, la panne de l'appareil à gouverner est survenue lorsque la servodirection a été utilisée pour tourner le bateau dans la mer. L'inspection des circuits de la servodirection a révélé qu'un fusible connecté en série entre le groupe moteur de l'appareil à gouverner et le module d'entraînement avait fondu.

    Pour protéger le groupe moteur de l'appareil à gouverner des variations de courant lors du fonctionnement normal du système, le fabricant a prévu une protection thermique de 30 A à l'intérieur du module d'entraînement. Selon le fabricant, l'ajout d'un fusible de 20 A (voir « A », figure 2) n'augmente pas la sécurité du système et peut même l'empêcher de fonctionner correctement.

    Il est important de noter que le système était conçu pour que l'appareil à gouverner soit utilisé avec le télémoteur ou la servodirection. Ainsi, quand la servodirection est tombée en panne, on aurait pu utiliser le télémoteur de gouverne pour barrer. En d'autres mots, l'appareil à gouverner n'est pas tombé en panne.

    Surcharge du bateau de pêche

    Le Evan Richard avait été conçu pour la pêche au homard. Une centaine de casiers à homard pouvaient être arrimés sur le pont arrière, représentant une masse totale de quelque 3000 kg. À cette époque, les marins pêcheurs trouvaient périlleux de charger ce bateau avec autant de casiers et attendaient donc une mer calme avant de prendre le large.

    Le Evan Richard avait une cargaison de quelque 6570 kg, soit environ le double des chargements qui se faisaient à l'époque. Ainsi chargé, le pont arrière se trouvait à environ 20 cm sous la ligne de flottaison et les drains obturés n'étaient pas étanches (voir l'annexe A). La pompe électrique utilisée pour vidanger le pont arrière se devait de demeurer fonctionnelle pendant tout le voyage pour assurer la sécurité de l'équipage.

    La réglementation en vigueur concernant les bateaux de pêche d'une jauge brute de moins de 15 ne prévoit pas d'essai de stabilité avant la mise en service du bateau. Ainsi, on ne retrouve aucune information sur la stabilité et l'exploitation du navire à bord de ces petits bateaux commerciaux. Il n'existe pas non plus de réglementation sur l'utilisation de marques de franc-bord et d'une ligne de charge; cette mesure de sécurité n'existe sur aucun bateau de pêche. Il revient donc à chaque patron de pêche d'évaluer la limite de sécurité à laquelle le bateau peut être chargé.

    Même si ce n'était pas obligatoire, le patron du Evan Richard était titulaire d'un brevet de capitaine de pêche. De surcroît, il possédait plusieurs années d'expérience en mer comme capitaine d'un navire de pêche d'une jauge brute de plus de 165 sur lequel un livret de stabilité est exigé. Toutefois, même si le capitaine possédait cette expérience, le bateau a été surchargé.

    Lacunes en matière de formation et de documentation de bord

    Même si Transports Canada délivre des brevets de capitaine de pêche, la réglementation ne s'applique pas à la majorité des gens de mer qui font de la pêche commerciale leur emploi primaire. Environ 94 % de tous les bateaux de pêche immatriculés ont une jauge brute de moins de 60. La seule formation que ces gens de mer auront à suivre est un cours sur les fonctions d'urgence en mer, et cette exigence n'entrera pas en vigueur avant 2007. Pour pouvoir bien évaluer l'effet de la cargaison sur le comportement dynamique du navire, l'équipage doit comprendre certaines notions de stabilité et avoir des connaissances générales en matière de chargement et de construction navale.

    Depuis 1979, la notion de « connaissance générale du navire » fait partie du syllabus des connaissances exigées pour l'obtention des brevets de capitaine de pêche de première, deuxième et troisième classe. Malgré ce fait, on note une lacune en matière de stabilité. Pour palier à cette lacune, la GCC a publié un petit livret intitulé Introduction à la stabilité des navires de pêche (TP 8161). Ce document se veut une introduction aux principes de stabilité et aux facteurs qui l'influencent. Depuis 2002, Transports Canada a ajouté au syllabus l'exigence d'avoir des notions de stabilité pour l'obtention des brevets de capitaine de pêche de première, deuxième et troisième classe. Or, au moment de sa formation pour l'obtention du brevet de capitaine de pêche de troisième classe, le capitaine du Evan Richard n'était pas tenu de parfaire ses connaissances en stabilité.

    En 1989, la GCC a publié un livret intitulé Petits bateaux de pêche - Manuel de sécurité (TP 10038). Aujourd'hui, ce document ré-édité par Transports Canada est principalement destiné aux capitaines et aux exploitants de petits bateaux de pêche de moins de 24 m qui ne sont pas titulaires d'un certificat de capacité ou n'ont reçu qu'une formation professionnelle limitée.

    Il n'existe aucune exigence réglementaire sur les essais de stabilité pour les navires de pêche qui ont une jauge brute égale ou inférieure à 15 et qui ne sont pas des voiliers.Note de bas de page 5 Pourtant, la plupart des appareils que nous achetons, indépendamment de leurs dimensions et de leurs utilités, sont vendus avec un manuel d'utilisation. Sans information précise sur la stabilité de leur navire, les patrons et les capitaines de ces petits bateaux de pêche sont limités dans les décisions qu'ils doivent prendre face aux paramètres et aux limites de chargement.

    À défaut de documentation pertinente et de formation adéquate sur la stabilité, le patron-propriétaire du Evan Richard a outrepassé le seuil de sécurité en matière de chargement. Comme mentionné dans le rapport d'enquête du BST (M01L0112) sur l'accident survenu au Alex B. 1, diverses actions ont été entreprises par des gouvernements provinciaux et par Transports Canada pour sensibiliser les marins pêcheurs envers la sécurité en mer. Toutefois, sans l'obligation de documenter tous les bateaux de pêche d'un manuel d'exploitation et d'un livret de stabilité, et de faire suivre à leur patron une formation adaptée à leur travail, les marins pêcheurs continueront d'exploiter leur bateau comme bon leur semble.

    Planification du voyage

    Les marins pêcheurs ont tendance à surestimer l'état de navigabilité de leur navire et à sous-estimer les forces de la nature. Une bonne planification est essentielle au bon déroulement du voyage. Cette planification doit se faire en utilisant toutes les ressources disponibles. Sans une documentation complète, il est difficile de planifier des options en cas d'urgence, par exemple, de choisir un mouillage alternatif ou de consulter un document pour déterminer sur quelle fréquence les bulletins météorologiques sont diffusés.

    Tel qu'énoncé précédemment, les brevets de capitaine de pêche ne s'appliquent pas à la majorité des patrons de petits bateaux de pêche. En d'autres mots, les patrons ne sont pas tenus de suivre une formation spécifique. Cependant, on retrouve dans la publication Petits bateaux de pêche - Manuel de sécurité (TP 10038) de Transports Canada, un chapitre dédié aux renseignements météorologiques, qui vulgarise les effets des conditions météorologiques sur une petite embarcation.

    Le 29 septembre 2003 vers 6 h, des pointes de vent de 46 noeuds du sud-sud-est ont été enregistrés à la station d'observation de la Pointe-Heath. Le Evan Richard avait mouillé l'ancre à 5,5 milles marins de la station d'observation. Ce choix initial comme lieu d'ancrage n'était pas une mauvaise décision, puisque ce lieu s'est avéré satisfaisant jusqu'en soirée le 28 septembre. Mais en moins de 12 heures, le vent a changé de direction et a doublé d'intensité, et la mer a atteint une hauteur d'environ 6 m; le havre n'offrait plus d'abri. Une veille radio téléphonique sur une des voies réservées aux prévisions météorologiques aurait permis de constater que cet abri n'était plus adéquat.

    Des bulletins météorologiques d'Environnement Canada sont diffusés par les centres des SCTM de la GCC à longueur de journée sur des voies réservées à cette fin, c'est-à-dire les voies VHF 21B, 25B et 83B sur la côte de l'Atlantique et les Grands Lacs. Environnement Canada offre également le service via Radio météo Canada sur les voies VHF WX1, WX2 et WX3. En outre, des bulletins météorologiques sont diffusés sur les ondes AM et FM. Aucun avis météorologique n'est diffusé sur la voie 9 sur VHF dans le secteur Anticosti. Il incombe aux navigateurs de considérer le facteur météorologique lors de la planification du voyage.

    En 1979, la GCC a introduit un examen sur la météorologie pour l'obtention des brevets de capitaine de pêche de première et deuxième classe. Ce n'est qu'en 2002 que Transports Canada a ajouté cette matière au syllabus du brevet de capitaine de pêche de troisième classe. Puisque le capitaine du Evan Richard a obtenu son brevet en 1995, il n'était pas tenu de recevoir cette formation.

    Libre choix des engins de sauvetage

    Le Evan Richard effectuait un voyage de cabotage de classe III. Bien que le bateau ait sombré à quelques centaines de mètres de la côte, les deux matelots n'ont pas été retrouvés. De plus, il s'en est fallu de peu pour que le Evan Richard sombre sans laisser de trace; le dernier appel de détresse a été capté avec difficulté par le centre des SCTM de Rivière-au-Renard.

    La réglementation en vigueur qui s'applique aux bateaux de pêche comme le Evan Richard prévoit que chaque personne à bord doit avoir une brassière de sauvetage. Cette même réglementation demande que les bateaux de pêche pontés d'un tonnage de plus de 15 soient équipés d'une embarcation de sauvetage, d'un bateau, d'un doris, d'un esquif ou d'un senneur pour recevoir toutes les personnes à bord. De plus, si la longueur de ces bateaux de pêche dépasse les 12,2 m, un radeau de sauvetage est aussi exigé. Par contre, on exige que les navires de pêche d'une jauge brute de 150 et plus ou dont la longueur est de 24,4 m ou plus soient équipés de combinaisons d'immersion lorsqu'ils sont engagés dans des voyages autres que les voyages de cabotage de classe IV et les voyages en eaux secondaires de classe II. Le Evan Richard remorquait bien une embarcation de sauvetage, mais parce qu'elle était mal positionnée et mal amarrée, elle n'a pu être utilisée par l'équipage. Étant donné que les matelots ne savaient pas nager, un radeau pneumatique, une combinaison d'immersion ou des gilets de sauvetage, placés stratégiquement près des emménagements, auraient permis à ces hommes de rejoindre la côte sains et saufs.

    Le Evan Richard n'était pas tenu d'avoir à bord une RLS. Selon la réglementation en vigueur, seuls les bateaux de pêche d'une jauge brute inférieure à 15 qui ont une longueur de 8 m ou plus et qui effectuent des voyages de cabotage de classe I ou II ou des voyages de long cours sont tenus d'avoir à bord une RLS. Une RLS qui se déclenche automatiquement aurait pu transmettre un signal de détresse précis, ce qui aurait réduit le périmètre de recherche au minimum.

    Faits établis

    Faits établis quant aux causes et aux facteurs contributifs

    1. Le Evan Richard a été surchargé au point où les drains ont été submergés, favorisant ainsi l'envahissement par les hauts.
    2. Quand la servodirection est tombée en panne, le capitaine n'a pas utilisé le télémoteur de gouverne.
    3. Le lieu d'ancrage choisi offrait peu d'abri contre les vents et les vagues du sud-est.

    Faits établis quant aux risques

    1. Selon la réglementation en vigueur, les navires de pêche d'une jauge brute inférieure à 15, soit 76 % des bateaux de pêche immatriculés au Canada,
      1. ne font pas l'objet d'essai de stabilité et n'ont pas de manuel d'exploitation,
      2. n'ont pas à être inspectés par Transports Canada, ni à faire l'objet d'une inspection après une refonte.
    2. Comme tous les navires de pêche au Canada, le Evan Richard n'avait pas de marques de franc-bord ni de ligne de charge pour limiter l'enfoncement dans l'eau.
    3. Les navires de pêche d'une jauge brute inférieure à 150 ou d'une longueur égale ou inférieure à 24,4 m n'ont pas à être équipés de radeau de sauvetage ni de combinaison d'immersion.
    4. Selon la réglementation en vigueur, seuls les bateaux de pêche d'une jauge brute inférieure à 15 qui ont une longueur de 8 m ou plus et qui effectuent des voyages de cabotage de classe I ou II ou des voyages de long cours sont tenus d'avoir à bord une radiobalise de localisation des sinistres (RLS).
    5. Les capitaines de pêche de troisième classe qui ont obtenu leur brevet avant 2002 n'ont pas reçu de formation sur la stabilité des navires et la météorologie et ils ne sont pas tenus d'en recevoir.

    Autre fait établi

    1. Transports Canada délivre des brevets de capitaine de pêche, mais 94 % des patrons de bateaux de pêche immatriculés au Canada ne sont pas tenus d'être titulaires de ce brevet.

    Mesures de sécurité

    Mesures de sécurité prises

    Transports Canada

    Le Règlement sur l'inspection des petits bateaux de pêche fait partie de la phase I de la réforme réglementaire entreprise par Transports Canada pour la mise en application de la Loi de 2001 sur la Marine marchande du Canada. Malgré le progrès dans l'exécution des travaux des différentes équipes, on ne prévoit que pour 2006 la mise en application de cette nouvelle loi et des règlements qui en découleront.

    Se basant sur l'avant-projet de 1993 qui n'a jamais vu le jour, Transports Canada a entrepris une modification importante de la réglementation concernant tous les bateaux de pêche. La première phase concerne les bateaux de pêche d'une jauge brute de moins de 150; le Règlement sur l'inspection des petits bateaux de pêche couvre ce groupe de navires. À la suite des réunions bisannuelles du Conseil consultatif maritime canadien (CCMC), lesquelles étaient parrainées par le Comité sur la sécurité des bateaux de pêche du CCMC et des consultations publiques incluant les marins pêcheurs, qui se sont tenues dans plusieurs localités au pays, Transports Canada a présenté en février 2004 un document de travail qui servira de document de référence lors des prochaines consultations publiques et, par conséquent, à la rédaction du prochain Règlement sur l'inspection des petits bateaux de pêche.

    Les amendements prévus concernent les points suivants :

    • la classification des voyages;
    • l'équipement de sauvetage;
    • le régime d'inspection;
    • la stabilité et l'état de navigabilité;
    • la construction (une norme technique), les plans et l'information;
    • l'exploitation et l'entretien;
    • la sécurité de la navigation et l'équipement de radiocommunication; et
    • la certification et la formation.

    Transports Canada a l'intention de produire une nouvelle réglementation, incluant un règlement et des normes, permettant d'assurer un niveau de risque acceptable et pouvant être administrée de façon convenable dans le cadre réglementaire national et international.

    Le présent rapport met un terme à l'enquête du Bureau de la sécurité des transports du Canada (BST) sur cet événement. Le Bureau a autorisé la publication du rapport le .

    Annexes

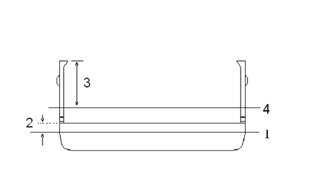
    Annexe A - Croquis de la coupe transversale du Evan Richard

    Annexe A. Croquis non à l'échelle de la coupe transversale du Evan Richard, à l'arrière des emménagements
    Image
    Croquis non à l'échelle de la coupe transversale du Evan Richard, à l'arrière des emménagements

    Légende :

    1. Ligne de flottaison à l'état lège.
    2. Distance entre la ligne d'eau et le pont étanche arrière : environ 10 cm à l'état lège (non à l'échelle).
    3. Distance entre la surface de l'eau et le dessus du pavois : environ 45 cm.
    4. Ligne de flottaison du navire en charge au départ de Bas Caraquet.

    Annexe B - Navires de pêche immatriculés au CanadaNote de bas de page 6

    Annexe B. Navires de pêche immatriculés au Canada
    Image
    Navires de pêche immatriculés au Canada

    Remarques :

    1. 15 469 navires de pêche ont une jauge brute égale ou inférieure à 15, ce qui représente 76 % de la flotte canadienne.
    2. 19 020 navires de pêche ont une jauge brute égale ou inférieure à 60, soit 94 % de la flotte canadienne.
    3. 3336 navires de pêche ont une jauge brute supérieure à 14 mais égale ou inférieure à 15; ce groupe comprend 15 % de la flotte canadienne.

    Annexe C - Sigles et abréviations

    A
    ampère
    ASN
    appel sélectif numérique
    BST
    Bureau de la sécurité des transports du Canada
    CCMC
    Conseil consultatif maritime canadien
    cm
    centimètre
    GCC
    Garde côtière canadienne
    GPS
    système de positionnement global
    h
    heure
    hp
    horse power
    kg
    kilogramme
    m
    mètre
    min
    minute
    mm
    millimètre
    PNRS
    Programme national de recherche et sauvetage
    RLS
    radiobalise de localisation des sinistres
    s
    seconde
    SCTM
    Services de communications et de trafic maritimes
    TP
    publication de Transports Canada
    VFI
    vêtement de flottaison individuel
    VHF
    très haute fréquence
    °
    degré
    minute
    seconde